Ford patentó el mejor accesorio para las camionetas, pero no sabemos si algún día lo llegará a usar
Es un invento de hace 3 años que podría mejorar notablemente la seguridad de la carga y que lamentablemente muestra que la evolución de los autos se mantiene controlada por los mismos fabricantes.

En la industria automotriz, son muchos los fabricantes que patentan nuevos desarrollos para tener las novedades exclusivas en sus propios vehículos, pero también son muchos los que desarrollan nuevas tecnologías que deciden no usar, pero de igual forma las patentan para que otros fabricantes tampoco puedan incorporarlas, permitiendo que la industria evolucione sin grandes innovaciones en el tiempo, por lo que el adelanto que veremos hoy, podría ser una novedad a incorporarse en unos años, cuando Ford se sienta en la necesidad de presentar un accesorio llamativo para superar a su futura competencia.

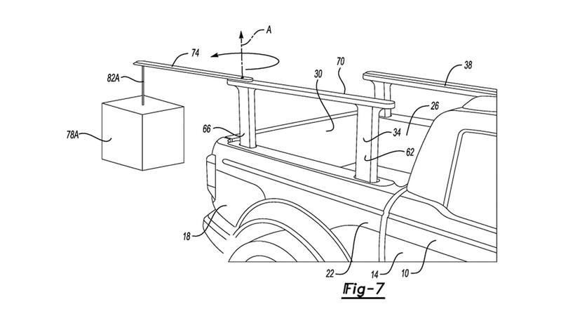
La revolucionaria idea plantea instalar unos soportes elevables en el interior de los arcos de las ruedas traseras, los cuales puedan elevarse sobre la línea del pick up para permitir asegurar de mejor manera la carga.
Es decir, la idea de Ford es que desde ambos costados de la caja de carga se puedan elevar unas estructuras metálicas para aumentar la practicidad y seguridad en la sujeción de los objetos que quedamos llevar en la camioneta.

Este nuevo accesorio fue ingresado al registro de solicitudes de patente en 2021, pero recién ha salido a la luz pública gracias a Motor1 Norteamérica.
De hecho, Ford incluso fue más allá que solo elevar los laterales del pickup, permitiendo añadir un segundo accesorio a esta estructura, el cual se compone por un brazo giratorio, que puede rotar hacia adentro o hacia afuera de la línea del pick up, por lo que si a este brazo le agregamos una cuerda que permita elevar y bajar la carga, se facilitaría mucho el proceso de subir cosas pesadas a la camioneta, ya que sería algo similar a incorporar una pequeña grúa manual.

Ahora la pregunta es si este tipo de adelantos llegarán a las camionetas de la marca del óvalo. Lo cierto es que sigue siendo una incógnita, ya que Ford suele patentar nuevos inventos que finalmente no incorpora a los modelos de producción, precisamente porque revolucionar a la industria implica que todos sus modelos deberían cambiar para poder incorporar este elemento, lo que disminuiría la rentabilidad del negocio por la fuerte inversión que se necesita.

Aunque, con la rapidez que evoluciona la industria automotriz actual, no sería extraño que en la próxima generación de camionetas podamos ver alguna aplicación de esta patente, ya que sería un accesorio ideal para ofrecer un rasgo diferenciador.
¿Qué te parece esta idea?
COMENTARIOS
Para comentar este artículo debes ser suscriptor.
Lo Último
Lo más leído
1.
3.
4.



















