Por Claudio PortillaSony registra patente que permitiría retrocompatibilidad a través del streaming
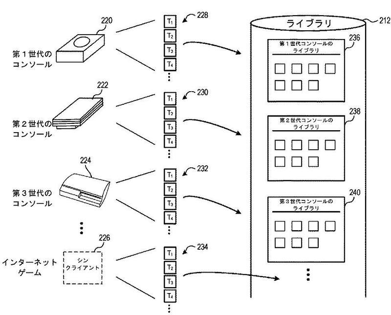
La descripción señala que los juegos de varias generaciones se podrían almacenar y utilizar a través de una librería en la nube.

Sony registró una nueva patente en Japón, la cual permitiría la retrocompatibilidad a través del streaming de videojuegos.
Segun los detalles dados aconocer, a través de su plataforma de streaming de juegos, PlayStation Now, es que los usuarios podrían acceder a títulos de PlayStation, PlayStation2 y PlayStation 3.
La descripción de esta forma apunta que “un gran número de juegos de PS1/PS2/PS3 y varias generaciones de consolas pueden almacenarse y utilizarse a través de una librería de juego en la nube”.
La descripción detalla que “se ejecutarían en máquina virtual que replica el sistema operativo asociado con cada consola de videojuegos”
Esta patente mostraría que la compañía está estudiando la forma de implementar la retrocompatibilidad, algo con lo cual desde la compañía han sido bastante esquivos.
La imagen de la patente muestra como funcionaría este sistema.

COMENTARIOS
Para comentar este artículo debes ser suscriptor.
Lo Último
Lo más leído
1.
3.



















