Por José Ignacio GutiérrezToyota patenta sistema de autolavado de pick up para camionetas
La marca japonesa planea un sistema con compresor para remover la suciedad del pick up. Toyota quiere dar el golpe.

El fabricante japonés Toyota, líder mundial en venta de autos nuevos en 2018, continúa innovando de cara al futuro. Así queda de manifiesto con las últimas noticias que vienen de Estados Unidos. Es que la firma nacida en Aichi patentó un sistema para que el pick up -aquel espacio destinado a la carga- se limpie solo.

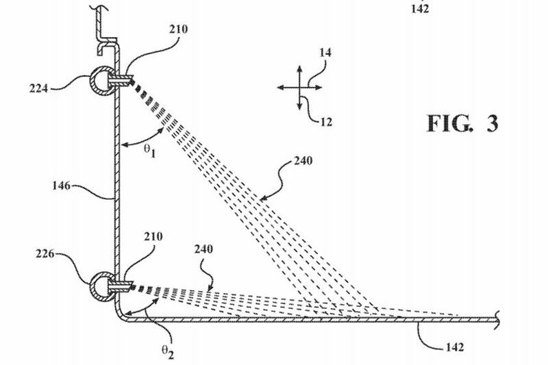
La información fue publicada por el sitio norteamericano CarBuzz, que además reveló los dibujos registrados por Toyota en la Oficina de Patentes y Marcas de Estados Unidos. A juzgar por el borrador, este mecanismo del pick-up funcionaría gracias a una bomba compresora para lanzar chorros de agua para remover la suciedad en algo similar a lo que conocemos como hidrolavadoras. La patente prevé que las boquillas por las que sale el líquido se configuren para desplegarse y retraerse de cada uno de los tres costados o, incluso, puedan oscilar.

Desde CarBuzz especulan si esta tecnología podría estar presente en la próxima generación de la Tundra. Lo cierto es que no sería una mala idea si se piensa que la actual camioneta para el mercado norteamericano lleva fabricándose hace 12 años y solo pasó por un facelift en 2014. Sabida es la dura batalla de las camionetas en Estados Unidos y un avance así para la futura generación la pondría en buen pie para la lucha. De funcionar quién sabe si podríamos verlo en la Hilux, de más popularidad en Chile. En febrero, la RAM 1500 presentó un particular sistema de apertura de puerta. Todo vale para conquistar market share.
COMENTARIOS
Para comentar este artículo debes ser suscriptor.
Lo Último
Lo más leído
1.
2.
4.


















