BMW patenta los alerones con intermitentes integrados
Una de las ventajas es que, al estar algo más bajos, se reduciría el centro de gravedad.

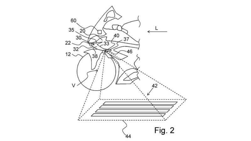
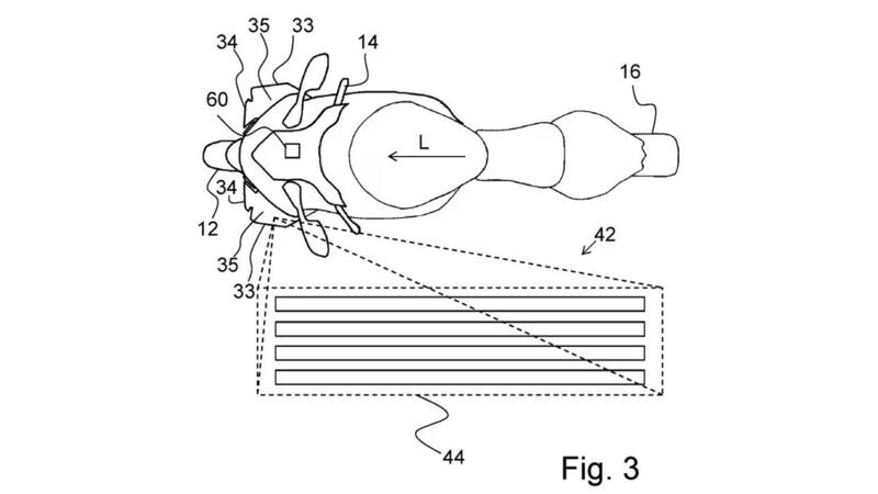
En su año centenario BMW Motorrad continúa innovando. Esto porque la marca alemana acaba de presentar una propuesta de lo más llamativa. Se trata de unos alerones con luces, que podrían reemplazar a los actuales intermitentes.
Que un alerón tenga un componente LED no quiere decir que solo vaya a servir para iluminar la carretera. Lo más obvio es que se utilicen como indicadores o intermitentes. Así, serían el sustituto perfecto para los intermitentes integrados en la carcasas de los espejos retrovisores.

Sin embargo, la última patente de los alemanes no solo se registra que sean intermitentes. BMW también abre la posición a alojar “luces diurnas”. Sería más bien una opción de seguridad pasiva para ser vistos más que para ver, especialmente en condiciones dificultosas.

Una tercera opción que barajan es que los winglets iluminen el suelo, como un proyector, como lo que actualmente tiene la K 1600. Tiene sentido como una ayuda para poder ver el suelo y evitar caídas en parado o aparcando, por ejemplo. O por simple atractivo visual.

Estas novedosas ideas solo llegarían a dos modelos: las BMW S 1000 RR y M 1000 RR actuales. Básicamente son dos de los modelos que utilizan ‘winglets’, y que se podrían trasladar a otros modelos, aunque por el momento solo tenemos estas fotos y papeles en las manos.
COMENTARIOS
Para comentar este artículo debes ser suscriptor.
Lo Último
Lo más leído
1.
2.


















