GM patenta asientos con levitación magnética
La idea es eliminar algunas de las piezas móviles de los actuales sistemas de ajuste de asientos.

General Motors busca patentar un sistema de levitación magnética, a través del cual se reemplazaría a los ajustadores de asientos convencionales. Así lo describe la solicitud de patente presentada ante la Oficina de Patentes y Marcas de los Estados Unidos (USPTO).
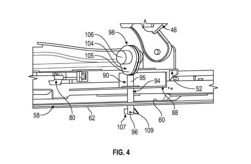
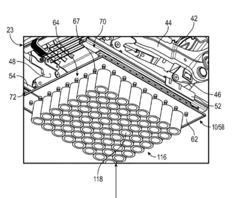
De acuerdo con ello, los imanes estarían incrustados en los rieles del asiento y permitirían el uso de campos magnéticos opuestos para subir o bajar los asientos. El objetivo es eliminar algunas de las piezas móviles de los actuales sistemas de ajuste de asientos.

El hardware requerido para los ajustadores de asientos manuales o eléctricos actuales agrega costo y complejidad, y puede volverse poco confiable con el tiempo, señaló GM en la patente.
A lo que agrega que los rieles de los asientos, por ejemplo, pueden llenarse de suciedad, lo que hace que los asientos se atasquen cuando los ocupantes intentan deslizarlos manualmente. Y los motores y otros elementos necesarios para los asientos ajustables eléctricamente añaden una cantidad significativa de peso.
Por el contrario, el sistema propuesto se basaría principalmente en una serie de imanes y un controlador para ajustar su polaridad. La atracción y repulsión alternas de los imanes individuales haría que el asiento se moviera, de manera similar a cómo los trenes de levitación magnética son impulsados a lo largo de una vía.

Cuando se ha movido a la posición correcta, el asiento se asegura con un pasador de bloqueo. Esto se puede hacer automáticamente usando un actuador para empujar el pasador, señaló GM en la solicitud.
Veremos si esta innovadora idea de GM llega a buen puerto.
COMENTARIOS
Para comentar este artículo debes ser suscriptor.
Lo Último
Lo más leído
1.
2.
3.
¡Aprovecha el Cyber! Nuestros planes a un precio imbatible por más tiempo 📰
Plan Digital$990/mes SUSCRÍBETE
















