Hyundai patenta un volante que incorpora pantallas en el centro
Idea busca concentrar toda la información en un campo de visión más acotado para el conductor.

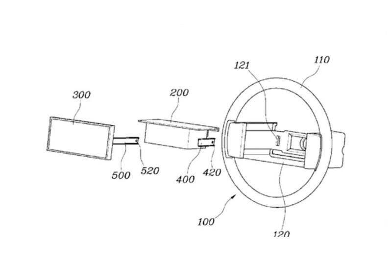
¿Se imaginan un volante que contenga una pantalla en el centro? Pues bien, Hyundai patentó en Alemania precisamente un volante que adopta esa idea, aunque a primera no se ve precisamente cómodo o seguro, considerando las distracciones que puede provocar.
La idea más bien parece de algún prototipo futurista, pero tampoco es algo tan extraño para la marca coreana, considerando que hace dos años se dio a conocer un prototipo que tenía dos pantallas táctiles en los bordes.
Pero ahora la apuesta es un poco más radical, reemplazando por completo los botones por una gran pantalla táctil central, buscando acotar el campo de visión del conductor hacia la información y que permanezca mirando hacia el frente durante todo el recorrido.

Esta pantalla que estaría inserta entre dos rayos cumpliría como cuadro de instrumentos y también como eje del sistema de información. Eso sí, no se sabe cómo funcionaría la pantalla cuando el volante vaya girando en una curva. Lo normal es que la visualización sea posible con el volante en línea recta o que cuente con un sistema que no haga girar el centro del volante.
Ahora, respecto de la presencia del airbag, el cual se encuentra alojado precisamente en el volante para proteger al conductor en caso de choque, desde la marca indicaron que se mantendrá tras la nueva pantalla y que sufriría problemas a la hora del inflado.
Habrá que esperar un tiempo para ver si esta idea llega al mercado y cómo sería su funcionamiento, verificando si realmente si no distrae del camino.
COMENTARIOS
Para comentar este artículo debes ser suscriptor.
Lo Último
Lo más leído
2.
3.



















