Otra más de Tesla: un limpiaparabrisas con rayos láser
Este innovador sistema serviría también para limpiar las ópticas de las cámaras que equipan los autos actuales.

Definitivamente, no hay semana que no nos sorprenda con algún anuncio, declaración o invento nuevo. Y es que tras patentar un parabrisas curvo y un tablero de vidrio, hoy Tesla inscribe un innovador sistema de limpiaparabrisas.
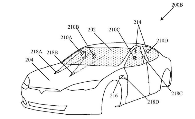
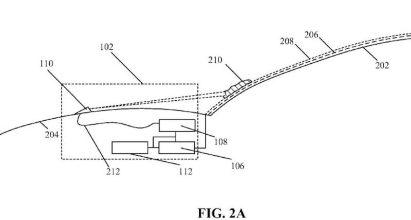
La Oficina de Patentes de Estados Unidos concedió a Tesla la patente de una tecnología basada en rayos láser, la cual podría sustituir a los limpiaparabrisas convencionales, al mismo tiempo que serviría para limpiar las ópticas de las cámaras que equipan los autos actuales (como las de los sistemas ADAS) y los paneles solares que montarán los Tesla en el futuro.

Dado que la marca presta mucha atención a la tecnología de conducción autónoma, la presencia de unas cámaras siempre limpias se antoja esencial, pues la información que transmiten es clave para el correcto funcionamiento de los sistemas de seguridad y de asistencia a la conducción del automóvil.
Si bien no se sabe en qué modelo incorporará esta tecnología, no sería de extrañar que lo hiciera en Tesla Cybertruck, su futura pick-up que se presentará el próximo año.

COMENTARIOS
Para comentar este artículo debes ser suscriptor.
Lo Último
Casi nadie tiene claro qué es un modelo generativo. El resto lo leyó en La Tercera
Plan Digital + LT Beneficios$6.990 al mes SUSCRÍBETE














